Pie Jelgavas Tehnoloģiju vidusskolas izbūvēts ielu apgaismojuma modelēšanas poligons
Emisijas kvotu izsolīšanas instrumenta līdzfinansētā projekta „Siltumnīcefekta gāzu emisiju samazināšana ar viedajām pilsētvides tehnoloģijām Jelgavā” aktivitāte “Ielu apgaismojuma modelēšanas poligona izveide Meiju ceļā 9, Jelgavā” pabeigta 2020. gada novembrī.
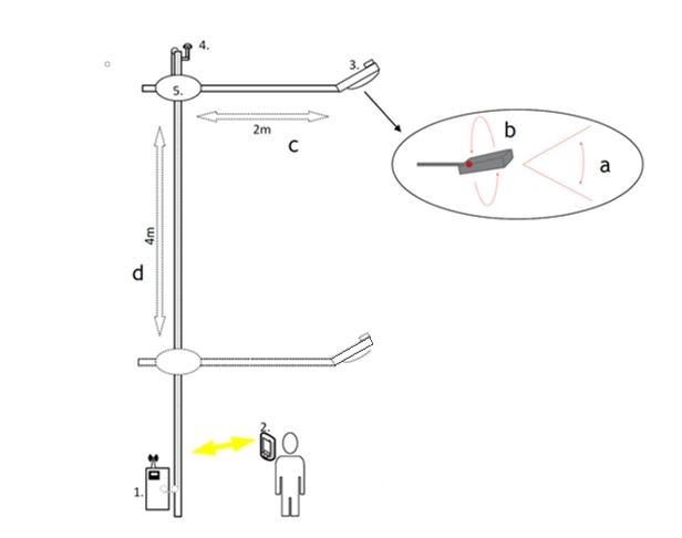
Aktivitātes plānotie būvdarbi Meiju ceļā 9 pie Jelgavas Tehnoloģiju vidusskolas tika uzsākti 2020. gada 23. oktobrī. Būvdarbu ietvaros izbūvēts 138 m garš kabelis un uzstādīti divi apgaismojuma balsti mācību vajadzībām, lai vidusskolas audzēkņi varētu izprast apgaismojuma sistēmas darbību reālā vidē, praktiski darbojoties – mērot apgaismojuma līmeņus un veicot citus mērījumus. Turklāt gaismekļi aprīkoti ar kontrolieriem un apgaismojuma vadības blokiem.
Uzstādīto apgaismojuma balstu funkcijas:
- apgaismojuma balsta konsoles augstuma maiņa;
- apgaismojuma balsta konsoles izbīdīšanās uz priekšu;
- gaismekļa spožuma maiņa;
- LED gaismekļa sasvēršanās uz augšu un leju (no -30⁰ līdz +30⁰);
- LED gaismekļa velšanās uz sāniem (no -45⁰ līdz +45⁰).
Poligona izveides darbus veica SIA «Mītavas Elektra».
Apgaismojuma modelēšanas poligona izveides kopējās izmaksas 32 070.58 euro (ar PVN).









